Deck 5: Equipment One
Question
Question
Question
Question
Question
Question
Question
Question
Question
Question
Unlock Deck
Sign up to unlock the cards in this deck!
Unlock Deck
Unlock Deck
1/10
Play
Full screen (f)
Deck 5: Equipment One
1
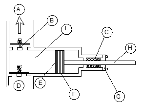
Please label this reciprocating pump.


a.discharge
b. check valve
c. packing
d. suction
e. piston
f. piston rings
g. packing gland
h. connecting rod
i. cylinder
b. check valve
c. packing
d. suction
e. piston
f. piston rings
g. packing gland
h. connecting rod
i. cylinder
2
What is the primary difference between a pump and a compressor?
A) a pump is designed to move gas while a compressor is designed to move liquids.
B) RPM rating on motor or steam turbine
C) a pump is designed to move liquid while a compressor is designed to move gases.
D) a pump does not need a motor while a compressor does
A) a pump is designed to move gas while a compressor is designed to move liquids.
B) RPM rating on motor or steam turbine
C) a pump is designed to move liquid while a compressor is designed to move gases.
D) a pump does not need a motor while a compressor does
a pump is designed to move liquid while a compressor is designed to move gases.
3
Please label this steam turbine.


a. Throttle valve
b. Steam Chest
c. Strainer
d. Overspeed trip
e. Governor valve
f. Governor system
g. Nozzle block
h. Moving blades
i. Fixed blades
j. Rotor
k. Rotating shaft
l. Thrust bearing
m. Radial bearing
n. Casing
o. Carbon Rings
p. Slinger ring
q. Labyrinth seals
r. Coupling
s. Steam outlet
t. Pump, compressor, generator, etc.
b. Steam Chest
c. Strainer
d. Overspeed trip
e. Governor valve
f. Governor system
g. Nozzle block
h. Moving blades
i. Fixed blades
j. Rotor
k. Rotating shaft
l. Thrust bearing
m. Radial bearing
n. Casing
o. Carbon Rings
p. Slinger ring
q. Labyrinth seals
r. Coupling
s. Steam outlet
t. Pump, compressor, generator, etc.
4
The basic components of an electrical motor include all of the following except:
A) bearings and seals
B) stator windings, rotor and shaft
C) impeller and volute
D) frame and fan
A) bearings and seals
B) stator windings, rotor and shaft
C) impeller and volute
D) frame and fan
Unlock Deck
Unlock for access to all 10 flashcards in this deck.
Unlock Deck
k this deck
5
Please label this globe valve.
Unlock Deck
Unlock for access to all 10 flashcards in this deck.
Unlock Deck
k this deck
6
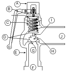
Please label this safety valve.
Unlock Deck
Unlock for access to all 10 flashcards in this deck.
Unlock Deck
k this deck
7
Describe how an industrial motor works.
Unlock Deck
Unlock for access to all 10 flashcards in this deck.
Unlock Deck
k this deck
8
Please label this gate valve.


Unlock Deck
Unlock for access to all 10 flashcards in this deck.
Unlock Deck
k this deck
9
Please label this centrifugal pump.


Unlock Deck
Unlock for access to all 10 flashcards in this deck.
Unlock Deck
k this deck
10
Please label this rotary pump


Unlock Deck
Unlock for access to all 10 flashcards in this deck.
Unlock Deck
k this deck

