Deck 6: Turbines and Motors
Question
Question
Question
Question
Question
Question
Question
Question
Question
Question
Question
Question
Question
Question
Question
Question
Question
Question
Question
Question
Question
Question
Question
Question
Question
Question
Question
Question
Question
Question
Question
Question
Question
Unlock Deck
Sign up to unlock the cards in this deck!
Unlock Deck
Unlock Deck
1/33
Play
Full screen (f)
Deck 6: Turbines and Motors
1
All of the following are examples of turbine vibration except:
A) radial vibration
B) axial vibration
C) inboard outboard bearing vibration
D) stem vibration
A) radial vibration
B) axial vibration
C) inboard outboard bearing vibration
D) stem vibration
stem vibration
2
Excessive vibration could indicate all of the following except:
A) failing radial bearings
B) failing axial bearings
C) failed labyrinth seals
D) failed journal bearings
E) failed carbon rings
F) failed stator seals
A) failing radial bearings
B) failing axial bearings
C) failed labyrinth seals
D) failed journal bearings
E) failed carbon rings
F) failed stator seals
failed stator seals
3
An automatic valve that regulates the amount of steam admitted into a turbine is called the.
A) steam regulator
B) overspeed trip
C) throttle valve
D) governor valve
A) steam regulator
B) overspeed trip
C) throttle valve
D) governor valve
governor valve
4
A safety device used to shutdown a turbine when it exceeds rotational limits is called a:
A) overspeed trip
B) safety trip lever
C) throttle valve
D) governor valve
A) overspeed trip
B) safety trip lever
C) throttle valve
D) governor valve
Unlock Deck
Unlock for access to all 33 flashcards in this deck.
Unlock Deck
k this deck
5
A typical governing system is divided into all of the following parts except:
A) speed sensitive
B) motion sensor amplifier to control valve
C) hydraulic sensitive electronics
D) control valve
A) speed sensitive
B) motion sensor amplifier to control valve
C) hydraulic sensitive electronics
D) control valve
Unlock Deck
Unlock for access to all 33 flashcards in this deck.
Unlock Deck
k this deck
6
The lube oil system in a steam turbine lubricates bearings and gears, cools lubricated parts and acts as a hydraulic medium for the governor.
Unlock Deck
Unlock for access to all 33 flashcards in this deck.
Unlock Deck
k this deck
7
The bearing that keeps the shaft from moving from side to side is called the:
A) thrust bearings
B) labyrinth bearings
C) radial bearings
D) mechanical bearings
A) thrust bearings
B) labyrinth bearings
C) radial bearings
D) mechanical bearings
Unlock Deck
Unlock for access to all 33 flashcards in this deck.
Unlock Deck
k this deck
8
The bearing that keeps the shaft from moving horizontally is called the:
A) axial bearings
B) labyrinth bearings
C) radial bearings
D) mechanical bearings
A) axial bearings
B) labyrinth bearings
C) radial bearings
D) mechanical bearings
Unlock Deck
Unlock for access to all 33 flashcards in this deck.
Unlock Deck
k this deck
9
Select the four basic types of steam turbines.
A) condensing and non-condensing
B) steam and water
C) impulse and reactive
D) gas and wind
A) condensing and non-condensing
B) steam and water
C) impulse and reactive
D) gas and wind
Unlock Deck
Unlock for access to all 33 flashcards in this deck.
Unlock Deck
k this deck
10
In a steam turbine, the rotation of the blades in response to the steam is called:
A) impulse motion
B) rotor alignment
C) kinetic-mechanical energy conversion
D) impulse movement
A) impulse motion
B) rotor alignment
C) kinetic-mechanical energy conversion
D) impulse movement
Unlock Deck
Unlock for access to all 33 flashcards in this deck.
Unlock Deck
k this deck
11
The amount of steam energy needed to perform useful work depends upon the pressure range through which the turbine expands.
Unlock Deck
Unlock for access to all 33 flashcards in this deck.
Unlock Deck
k this deck
12
Giovanni di Branca designed the first impulse steam turbine in:
A) 1534 AD
B) 1629 AD
C) 1765 AD
D) 1876 AD
A) 1534 AD
B) 1629 AD
C) 1765 AD
D) 1876 AD
Unlock Deck
Unlock for access to all 33 flashcards in this deck.
Unlock Deck
k this deck
13
The fixed blades in a steam turbine form a:
A) quarter crescent
B) half moon
C) three quarter moon
D) full moon
A) quarter crescent
B) half moon
C) three quarter moon
D) full moon
Unlock Deck
Unlock for access to all 33 flashcards in this deck.
Unlock Deck
k this deck
14
Identify the main parts of a gas turbine.


Unlock Deck
Unlock for access to all 33 flashcards in this deck.
Unlock Deck
k this deck
15
A procedure designed to remove condensate from a steam turbine, warm the internal parts and slow roll the turbine by bringing up the speed slowly is called:
A) heat soaking
B) thermal conditioning
C) Hunting
D) global rotation
A) heat soaking
B) thermal conditioning
C) Hunting
D) global rotation
Unlock Deck
Unlock for access to all 33 flashcards in this deck.
Unlock Deck
k this deck
16
A shaft seal designed to stop flow consisting of a series of ridges and intricate paths is called a:
A) ridge seals
B) labyrinth seals
C) packing seals
D) mechanical seals
A) ridge seals
B) labyrinth seals
C) packing seals
D) mechanical seals
Unlock Deck
Unlock for access to all 33 flashcards in this deck.
Unlock Deck
k this deck
17
A device used to connect the drive shaft of a motor or steam turbine to a pump, compressor or generator.
A) alignment connector
B) spider gear
C) coupling
D) quick slip connection
A) alignment connector
B) spider gear
C) coupling
D) quick slip connection
Unlock Deck
Unlock for access to all 33 flashcards in this deck.
Unlock Deck
k this deck
18
Identify the main parts of a steam turbine.


Unlock Deck
Unlock for access to all 33 flashcards in this deck.
Unlock Deck
k this deck
19
Steam enters a steam turbine at temperatures in excess of:
A) 500 F
B) 750 F
C) 1000 F
D) 1500 F
A) 500 F
B) 750 F
C) 1000 F
D) 1500 F
Unlock Deck
Unlock for access to all 33 flashcards in this deck.
Unlock Deck
k this deck
20
Steam entry pressures into a steam turbine reach:
A) 1250 psi
B) 1750 psi
C) 2550 psi
D) 3500 psi
A) 1250 psi
B) 1750 psi
C) 2550 psi
D) 3500 psi
Unlock Deck
Unlock for access to all 33 flashcards in this deck.
Unlock Deck
k this deck
21
The basic components of a gas turbine system include all of the following except:
A) a compressor
B) combustion chamber
C) a pump
D) a gas turbine
A) a compressor
B) combustion chamber
C) a pump
D) a gas turbine
Unlock Deck
Unlock for access to all 33 flashcards in this deck.
Unlock Deck
k this deck
22
In a steam turbine high velocity steam flows through the nozzle and is directed against a set of fixed blades.
Unlock Deck
Unlock for access to all 33 flashcards in this deck.
Unlock Deck
k this deck
23
Turbines convert __________ __________ into useful mechanical energy that is used to drive rotating equipment.
A) electrical energy
B) steam energy
C) radiant energy
D) turbo-electric energy
A) electrical energy
B) steam energy
C) radiant energy
D) turbo-electric energy
Unlock Deck
Unlock for access to all 33 flashcards in this deck.
Unlock Deck
k this deck
24
Shaft seals are located at the ends of each casing to minimize outward leakage of steam under pressure and enhance inward air leakage.
Unlock Deck
Unlock for access to all 33 flashcards in this deck.
Unlock Deck
k this deck
25
Modern turbine design _________ the size of each stage giving the turbine a _________ shape.
A) increases, conical
B) decreases, conical
C) holds constant, tubular
A) increases, conical
B) decreases, conical
C) holds constant, tubular
Unlock Deck
Unlock for access to all 33 flashcards in this deck.
Unlock Deck
k this deck
26
Two different types of governor systems used on steam turbines include all of the following except:
A) electronic hydraulic speed control
B) mechanical hydraulic speed control
C) instrument control distributive control system
A) electronic hydraulic speed control
B) mechanical hydraulic speed control
C) instrument control distributive control system
Unlock Deck
Unlock for access to all 33 flashcards in this deck.
Unlock Deck
k this deck
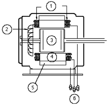
27
Identify the main parts of an electric motor.


Unlock Deck
Unlock for access to all 33 flashcards in this deck.
Unlock Deck
k this deck
28
As the steam zig-zags between the stationary and moving blades it begins to expand as much as ________ times its original volume.
A) 50
B) 100
C) 200
D) 1000
A) 50
B) 100
C) 200
D) 1000
Unlock Deck
Unlock for access to all 33 flashcards in this deck.
Unlock Deck
k this deck
29
When a steam turbine speeds up or slows down while the controller searches for the correct operating speed is called:
A) searching
B) hunting
C) surging
D) slipping
A) searching
B) hunting
C) surging
D) slipping
Unlock Deck
Unlock for access to all 33 flashcards in this deck.
Unlock Deck
k this deck
30
The maximum pressure delta ∆ across a steam turbine is:
A) 1050 psi
B) 1550 psi
C) 2350 psi
D) 3300 psi
A) 1050 psi
B) 1550 psi
C) 2350 psi
D) 3300 psi
Unlock Deck
Unlock for access to all 33 flashcards in this deck.
Unlock Deck
k this deck
31
Modern turbine technology includes _____ or more stages linked axially along a horizontal shaft.
A) 10
B) 30
C) 50
D) 70
A) 10
B) 30
C) 50
D) 70
Unlock Deck
Unlock for access to all 33 flashcards in this deck.
Unlock Deck
k this deck
32
In a steam turbine high pressure steam energy is converted to kinetic energy.
Unlock Deck
Unlock for access to all 33 flashcards in this deck.
Unlock Deck
k this deck
33
The correct path for steam flow into and out of a steam turbine is:
A) throttle valve, steam chest, governor valve, nozzle, moving blades, fixed blades, moving blades, steam outlet
B) governor or throttle valve, nozzle block, rotor, casing outlet
C) steam chest, throttle valve, nozzle, moving blades, fixed blades, moving blades, casing outlet
D) throttle valve, steam chest and governor system, nozzle, moving blades, fixed blades, moving blades, steam outlet
A) throttle valve, steam chest, governor valve, nozzle, moving blades, fixed blades, moving blades, steam outlet
B) governor or throttle valve, nozzle block, rotor, casing outlet
C) steam chest, throttle valve, nozzle, moving blades, fixed blades, moving blades, casing outlet
D) throttle valve, steam chest and governor system, nozzle, moving blades, fixed blades, moving blades, steam outlet
Unlock Deck
Unlock for access to all 33 flashcards in this deck.
Unlock Deck
k this deck

